Новости автомобильного мира
Быстрый поиск обзора
Марка
Модель
Опрос
Каким по Вашему должно быть оптимальное решение ситуации с большим количеством евроблях?
Всего ответов: 243
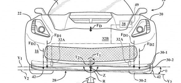
Среднемоторный Corvette оснастят активным передним сплиттером
General Motors запатентовал множество элементов активной аэродинамики, проиллюстрировав их изображениями Corvette. Окажутся ли они на серийном среднемоторном спорткаре?
02 / 04 / 2019
1279
В ЕС готовятся к массовому внедрению беспилотных авто
Инновационные системы безопасности позволят избежать аварий и значительно сократить смертность на дорогах.
02 / 04 / 2019
623
Перетягивание каната: Suzuki Jimny против Гелендвагена
Suzuki Jimny является одним из самых популярных автомобилей в мире, а значит его можно смело использовать в качестве единицы измерения. Как попугая для измерения удава.
02 / 04 / 2019
1210

Новости автомобильного мира

В этом разделе сайта Avtoblog.ua представлены самые значимые автоновости украинского и мирового автопрома

Для вас мы отбираем только лучшее, интересное и самое актуальное. Следите за нашей лентой, и вы всегда будете в курсе громких событий автомира и сможете делиться ими со своими товарищами и друзьями.

Все опубликованные в этой рубрике новости авто содержат только достоверную информацию. Актуальные свежие сообщения попадают в нашу новостную ленту каждый день, поэтому нашему сайту стоит доверять.

Будь в курсе автособытий вместе с Avtoblog.ua!

События, которые освещает наш раздел «Автомобильные новости», это:

  • презентации новинок и официальные пресс-релизы;
  • новые технологии автопрома;
  • новости автобизнеса в Украине и за рубежом;
  • законодательство и многое другое.

В данную рубрику попадают разнообразные автомобильные новости, в которых отражена всесторонняя деятельность крупнейших автопроизводителей: выпуски серийных и эксклюзивных моделей, специальные версии для знаменитостей и прочее. Кроме того, в ленте публикуются автоновости Украины за последнее время, о которых вы не услышите с телевизора и не узнаете в журналах. Самое интересное из мира автомобилей находится на просторах интернета.

Для тех, кто любит автомобили

Новостная лента нашего сайта не оставит равнодушным ни одного автолюбителя. Главные украинские автоновости будут держать вас в курсе последних событий отечественного автопрома. Статьи очень полезны и информативны. Читайте, анализируйте и обсуждайте важные вопросы с другими посетителями портала в рубрике «Форум».

Последние автоновости от Avtoblog.ua – держи руку на пульсе событий автопрома!

Материалы сайта доступны только подписчикам. Жми лайк и подписывайся!
Вход на сайт
E-mail
Пароль
E-mail
После отправления, в течении 5 минут к Вам на почту придут инструкции по восстановлению пароля.
Новый пользователь
E-mail
Пароль
Ваш отзыв
Укажите автомобиль
Имя
Город

Оцените модель:

5 4 3 2 1
Текст отзыва